进入防混油运单报告页面:打开系统,找到并点击 “防混油运单报告” 功能模块,进入相应操作界面。

选择公司:在页面左侧的公司树结构中,点击展开节点,选择您要查看运单报告的公司,例如 “测试” 等。
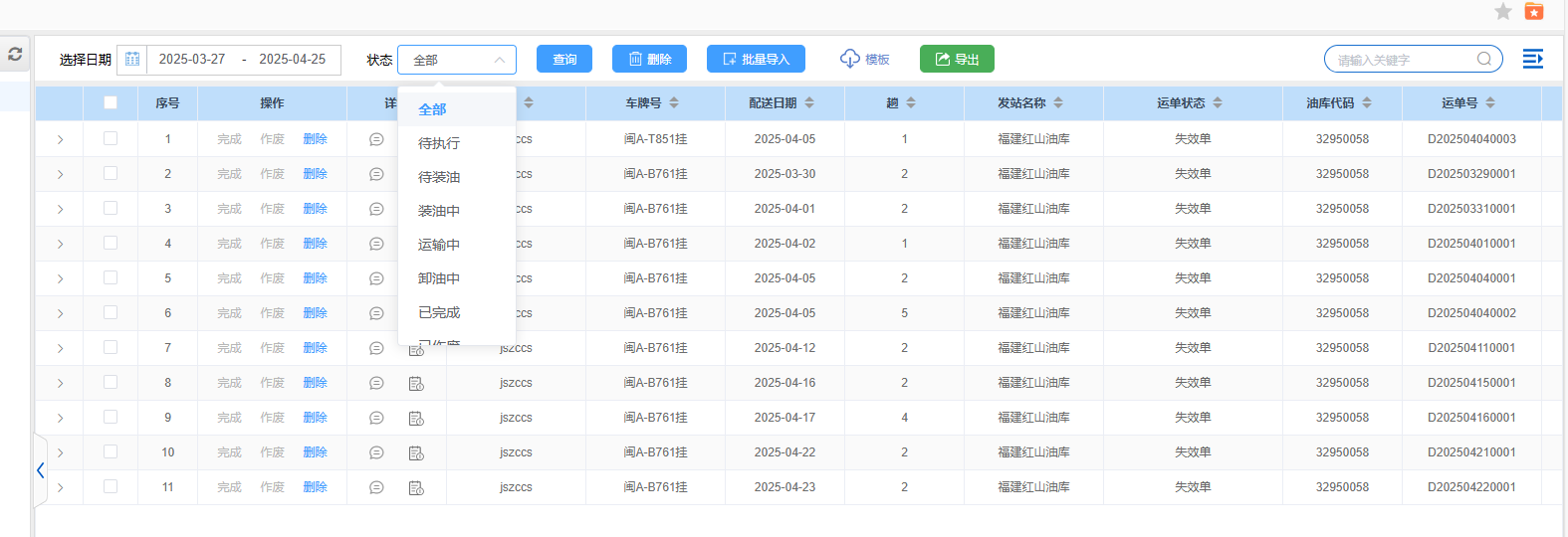
设置查询时间范围:在页面上方 “选择日期” 处,点击日期选择框,分别设置开始日期和结束日期,确定您需要查询运单报告的时间范围。

按运单状态筛选查询:在日期选择框右侧,点击 “状态” 下拉菜单,可选择 “全部”“有效单”“失效单” 等状态选项,筛选出对应
状态的运单记录。设置好时间范围和运单状态后,点击 “查询” 按钮,系统将展示符合条件的运单报告信息,包括序号、操作、详情、公司、车牌号、配送日期等内容。

运单操作
删除运单:在运单列表中,勾选想要删除的运单记录(可多选),然后点击 “删除” 按钮,按提示确认操作,即可移除所选运单。需注意,删除操作不可逆,请谨慎操作。

批量导入运单:点击 “批量导入” 按钮,先下载系统提供的 “模板”,按照模板格式要求整理好运单数据,再上传填写好的文件,确认导入,即可一次性添加多条运单记录。

导出列表数据:如果您需要将当前页面展示的运单报告列表数据保存,点击 “导出” 按钮,系统将按照指定格式(如 Excel 等 )导出数据,方便您存档、分析或分享。

查看已完成运单详情和事件:对于 “运单状态” 为已完成的运单记录,点击该行的 “详情” 按钮,可查看该运单的详细信息,如发站名称、油库代码、运单号等;

点击 “消息” 图标,能查看该运单在执行过程中产生的各类事件记录,了解事件发生的时间、类型等情况,便于追溯运单执行过程。

文档更新时间: 2025-05-06 17:37 作者:苏莉云