此界面可帮助您进行维修记录的查询、新增以及维修流程的管理。维修状态有维修中、质检中、已完工、待寄回,且可随时作废,维修流程需按顺序操作,不可跨级。
维修记录查询
维修状态筛选:点击 “维修状态” 下拉框,可选择 “全部”“维修中”“已完工”“已作废”“质检中”“待寄回” 等状态,筛选出对应状态的维修记录。
日期筛选:在 “选择日期” 区域,选择起始和结束日期,可筛选出该时间段内的维修记录。
执行查询 / 重置:设置好筛选条件后,点击 “查询” 按钮,即可显示符合条件的维修记录;若要重置筛选条件,点击 “重置” 按钮。
导出数据:如需将维修记录导出,点击 “导出” 按钮即可。

新增维修记录
点击界面上的 “新增” 按钮,弹出 “新增维修记录” 窗口。
填写基本信息:
- 设备清单:点击 “请选择”,从下拉列表中选择需要维修的设备。
- 创建人:填写创建该维修记录的人员姓名。
- 寄来快递单号:输入寄来设备的快递单号。
- 登记备注:在 “登记备注” 输入框中,填写相关登记信息,字数不超过 200 字。
- 故障描述:在 “故障描述” 输入框中,详细描述设备故障情况,字数不超过 200 字。
- 上传故障图片:点击 “故障图片” 区域的 “+” 号,可上传设备故障相关图片,最多可上传 10 张。
- 提交:填写完所有信息并确认无误后,点击 “确定” 按钮,完成新增维修记录操作;若要取消新增,点击 “取消” 按钮, 支持修改维修记录。

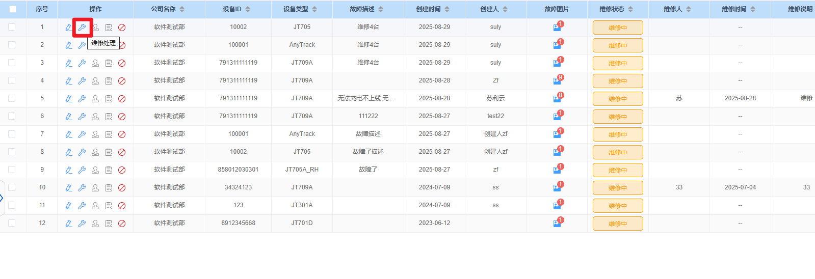
维修处理页面
进入维修处理页面:在设备维修记录列表中,找到需要进行维修处理的设备行,点击该行的维修图标,即可进入 “维修处理” 页面。
选择维修结果:点击 “维修结果” 下拉框,可从 “维修中”“维修完成” 等选项里选择对应的维修结果。
填写维修说明:在 “维修说明” 输入框中,详细填写维修的具体情况,比如故障原因、维修过程中采取的措施等,字数不超过 200 字。
指定维修人:在 “维修人” 输入框中,填写负责此次维修的人员姓名。
确认或取消操作:填写完所有信息后,若确认无误,点击 “确定” 按钮,完成维修处理操作;若要取消此次维修处理,点击 “取消” 按钮即可。

进入质检页面
- 点击 “质检结果” 下拉框,从可选的质检状态选项中,挑选符合当前设备质检情况的结果。
- 在 “质检说明” 输入框内,详细填写质检过程中的相关情况、发现的问题等内容,字数需控制在 200 字以内。
- 在 “质检人” 输入框中,填写负责此次质检操作的人员姓名。
- 根据实际情况,在 “是否有维修费用”
- 点击 “质检报告” 区域的 “+” 号,可上传与此次质检相关的报告文件,若确认无误,点击 “确定” 按钮,完成质检处理操作;若要取消此次质检处理,点击 “取消” 按钮即可。

###待寄回
维修并完成了质检工作 ,寄回处理。
文档更新时间: 2025-09-02 17:52 作者:admin