常规报警用于统计车辆的报警数据,常规报警类型目前多达100多种,进去后点击查询统计出来的是所有车辆在该时间段内的报警总数;
选择公司:进入 “常规报警” 页面后,在左侧公司树结构中,点击展开节点,选择您要查看报警的公司,如 “测试”等。选定公司后,系统将加载该公司下的相关报警信息。
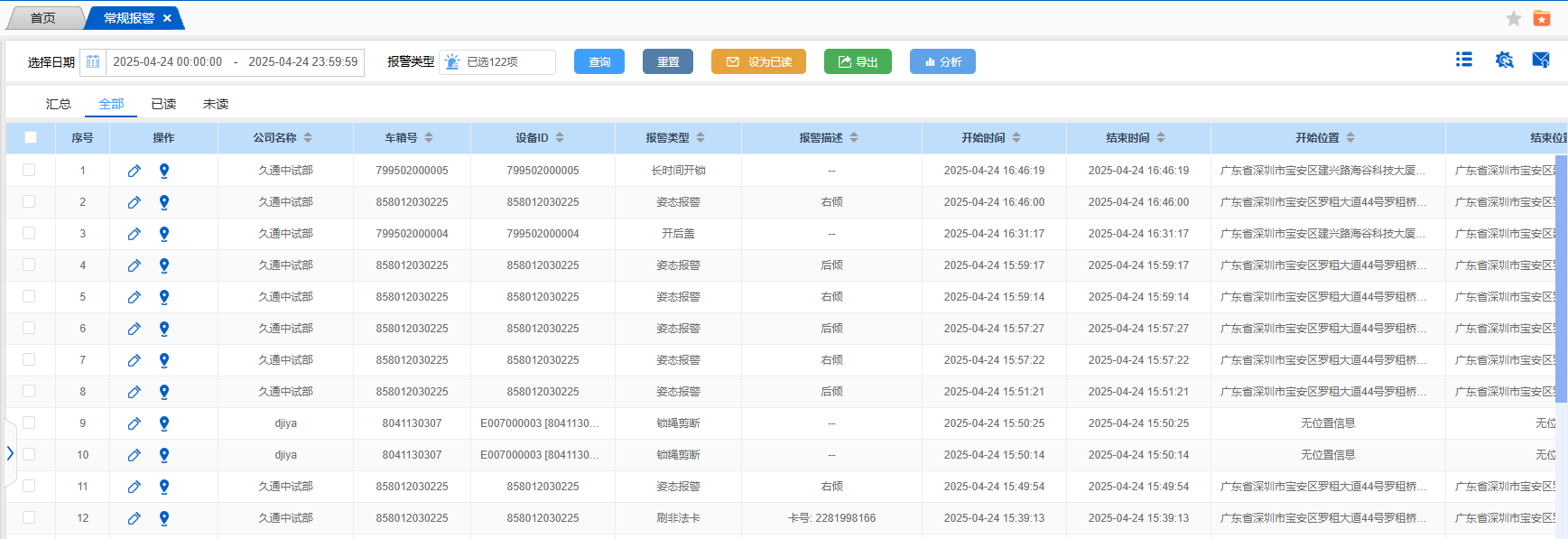
设置查询时间范围:在页面上方 “选择日期” 处,点击日期选择框,分别设置开始日期和结束日期,确定您需要查询事件通知的时间范围。

筛选事件类型:在日期选择框右侧,点击 “报警类型” 下拉菜单,可按需勾选或取消勾选不同的类型,筛选出特定类型的报警。

执行查询:设置好时间范围和报警后,点击 “查询” 按钮,系统将根据所选条件,展示符合要求的记录,包括报警名称、报警描述、公司名称、车箱号、设备 ID、开始时间、结束时间等信息。

重置查询条件:若想清除已设置的查询条件(时间范围、报警类型等 ),点击 “重置” 按钮,页面将恢复到初始未筛选状态。
标记已读:勾选需要标记的报警记录,点击 “设为已读” 按钮,可将所选报警标记为已读状态,方便区分未处理和已处理报警。

列表数据导出:如果需要将当前展示的报警通知列表数据保存,点击 “导出” 按钮,系统会按指定格式(如 Excel )导出数据,便于存档或进一步分析。

数据分析:点击 “分析” 按钮,系统将对当前展示的报警通知数据进行统计分析,以多种可视化图表形式呈现事件趋势、类型等信息,帮助您更好地理解数据规律。

查看定位信息:在记录列表中,部分记录可能带有定位图标,点击该图标,可查看报警发生的具体地理位置信息,直观了解报警发生地点。

报警配置信息:点击页面右上角的设置图标,可快速为当前所选公司及其下属公司配置推送信息,如设置推送时间、频率、接收人等,确保重要事件能及时通知相关人员。

报警信息推送:点击右上角的信封图标,可选择通过短信、微信等方式,将选定的报警信息推送给相关用户,方便及时传达重要通知。
