事件通知是用于记录设备产生的各种事件通知,如:开锁、关锁、ACC开、ACC关、按键唤醒等30余种事件。
选择公司:进入 “事件通知” 页面后,在左侧公司树结构中,点击展开节点,选择您要查看事件通知的公司,如 “测试”“久通中试部” 等。选定公司后,系统将加载该公司下的相关事件信息。
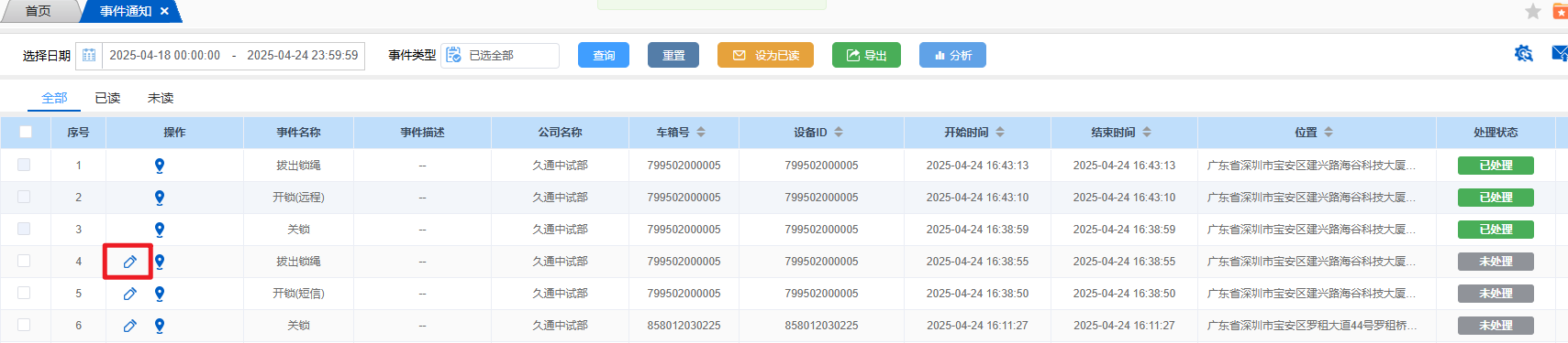
设置查询时间范围:在页面上方 “选择日期” 处,点击日期选择框,分别设置开始日期和结束日期,确定您需要查询事件通知的时间范围。

筛选事件类型:在日期选择框右侧,点击 “事件类型” 下拉菜单,可按需勾选或取消勾选不同的事件类型(如关锁、开锁等 ),筛选出特定类型的事件通知。

执行查询:设置好时间范围和事件类型后,点击 “查询” 按钮,系统将根据所选条件,展示符合要求的事件通知记录,包括事件名称、事件描述、公司名称、车箱号、设备 ID、开始时间、结束时间等信息。

重置查询条件:若想清除已设置的查询条件(时间范围、事件类型等 ),点击 “重置” 按钮,页面将恢复到初始未筛选状态。
标记已读:勾选需要标记的事件记录,点击 “设为已读” 按钮,可将所选事件标记为已读状态,方便区分未处理和已处理事件。

列表数据导出:如果需要将当前展示的事件通知列表数据保存,点击 “导出” 按钮,系统会按指定格式(如 Excel )导出数据,便于存档或进一步分析。

数据分析:点击 “分析” 按钮,系统将对当前展示的事件通知数据进行统计分析,以多种可视化图表形式呈现事件趋势、类型等信息,帮助您更好地理解数据规律。

查看事件定位信息:在事件记录列表中,部分事件记录可能带有定位图标,点击该图标,可查看事件发生的具体地理位置信息,直观了解事件发生地点。

配置事件推送信息:点击页面右上角的设置图标,可快速为当前所选公司及其下属公司配置事件推送信息,如设置推送时间、频率、接收人等,确保重要事件能及时通知相关人员。

事件信息推送:点击右上角的信封图标,可选择通过短信、微信等方式,将选定的事件信息推送给相关用户,方便及时传达重要通知。
