Vehicle assignment is used to assign transportation tasks to vehicles. If the current vehicle is in the transportation task, it cannot be dispatched again.

Distributed vehicles:

  1. Select the company –> enter the equipment ID, and automatically match the vehicle information according to the entered content. Selecting the transport vehicle or equipment ID can automatically bring out the associated vehicle and equipment information;

  2. Enter the name of the shift line, and the qualified shift line will be automatically searched out, just select it;

  3. Then select the planned departure time and estimated arrival time, and then enter other relevant information to dispatch the vehicle;

  4. Select a completion rule, choose one of the three types and check the box, the next time the waybill is dispatched, the currently selected completion rule will be automatically used by default.

  1. After the vehicle is dispatched successfully, it can be viewed on the undispatched page in the dispatch list module.

  2. The type of waybill has added a plan order. The waybill will be triggered x time in advance of the set plan time, and the status will be changed from plan order to undeparture status. When the vehicle starts out of the fence, the status will change from undeparture to departure.

Batch Import:
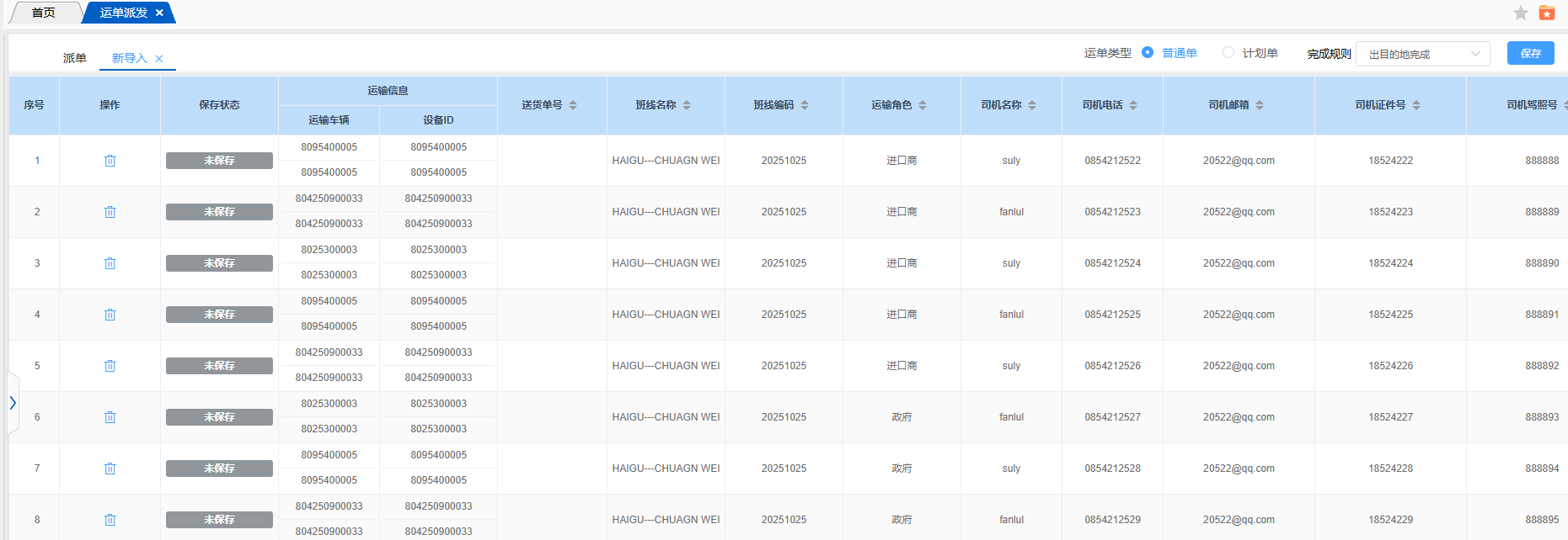
In addition to dispatching tasks to vehicles individually, the system can also dispatch tasks to multiple vehicles at the same time through batch import.

  1. First download the template and fill in the import information;

  1. In the template, you must fill in the equipment ID, transport vehicle, line name, planned departure time, and planned arrival time. Other information can be filled in according to the actual situation;

  2. Click Batch Import, click Save after the data import is successful, and the trains will be dispatched successfully, which can be viewed on the undeparture page of the dispatch list.

文档更新时间: 2025-12-31 16:45   作者:梁蒙