为 JT301 系列产品设计,统计并记录该系列产品的开关门数据。
基础操作:查询开关门数据
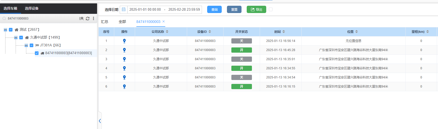
进入功能界面:从系统菜单依次点击「报表服务」→「开关门报告」,进入功能主界面;
- 选择查询对象:勾选目标车辆或设备(仅支持 JT301 系列产品);
- 设置时间范围:点击日期选择框,配置需查询的开关门统计时间区间;
- 执行查询:点击「查询」按钮,系统展示符合筛选条件的开关门记录。

核心功能:数据查看与地图定位
数据查看
查询结果展示开关门关键信息,包括开关门时间、操作类型、关联车辆 / 设备编号等,清晰呈现开关门全流程记录。

地图位置查看
点击记录旁的「地图图标」,系统将跳转至地图页面,精准展示该次开关门操作的地理位置,实现操作场景可视化追溯。
数据导出
确认查询结果符合需求后,点击界面上方「导出」按钮,选择导出格式(Excel/Word/PDF),点击「确认」系统自动生成文件并下载,文件命名便于快速识别。

文档更新时间: 2025-12-02 15:20 作者:苏莉云