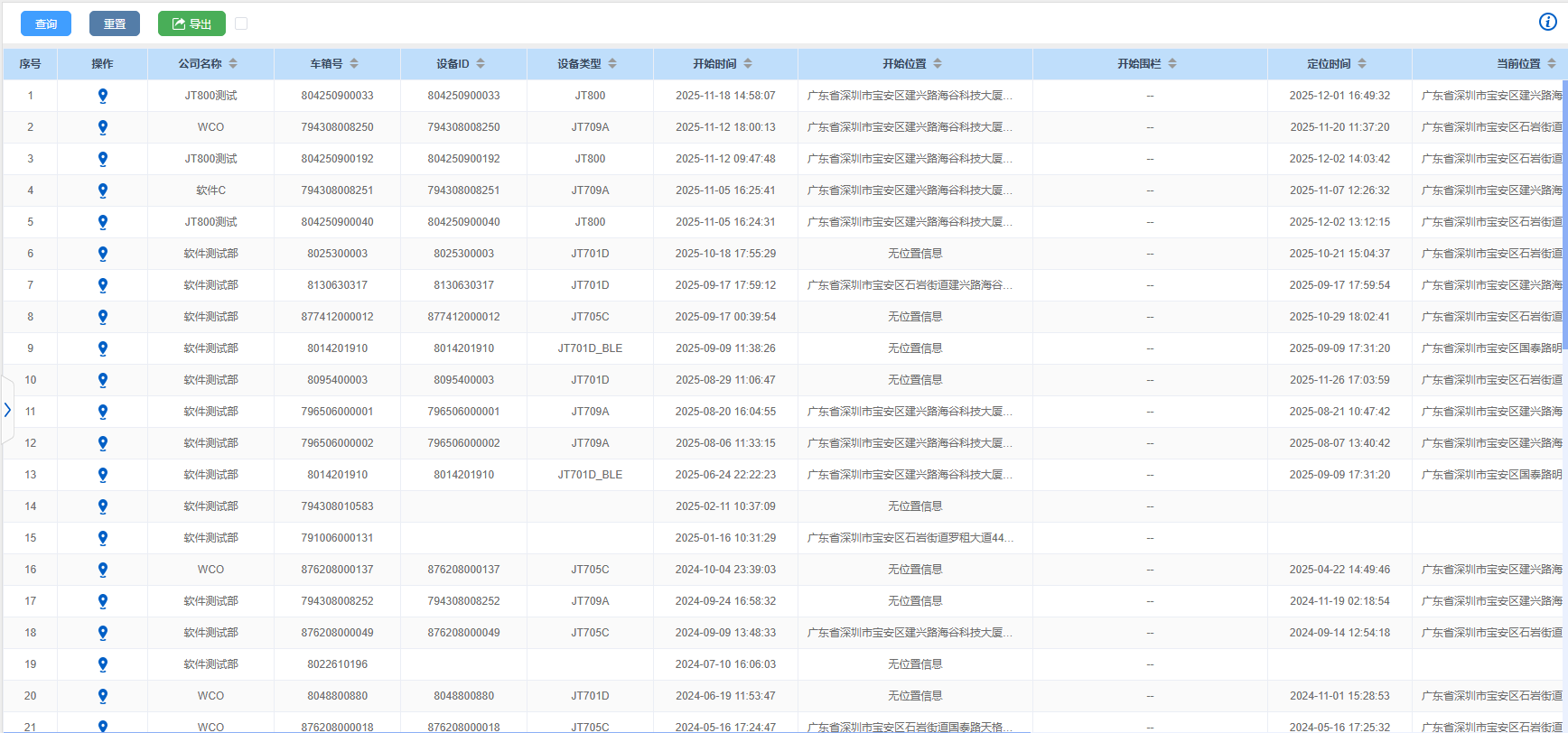
实时记录运输车辆最新在途位置与运输状态,适配国际物流中 “实时追踪、动态监控” 的核心需求,助力快速掌握运输最新进展。
基础操作:查询最新运输数据
进入功能界面:从系统菜单依次点击「报表服务」→「最新运输详情」,进入功能主界面;
选择查询对象:根据需求选择 “车辆” 或 “设备” 作为查询维度(设备更换过车辆时,优先选 “设备”,确保获取精准数据);
执行查询:点击「查询」按钮,系统快速筛选并展示符合条件的最新运输记录。
核心数据内容
查询结果聚焦运输最新动态,核心字段包括:
位置信息:车辆 / 设备当前所在位置;
运输状态:最新运输进度状态(如在途、停靠等);
关联信息:绑定车辆编号、设备编号,明确运输主体。

数据导出
确认查询结果无误后,点击界面上方「导出」按钮;
从下拉菜单中选择导出格式(Excel/Word/PDF),适配国际办公场景的即时汇报、跨团队同步需求,点击「确认」,系统自动生成文件并下载。

文档更新时间: 2025-12-02 14:06 作者:苏莉云